Support de plaque avant Le sujet est résolu
-
olive4
- Documentaliste

- Messages : 34710
- Enregistré le : mer. mars 30, 2011 22:40 pm
- Prénom : Olivier
- Voiture : Golf 1 cabriolet
- Année : 1991
- Version : Bel Air (mono-ton)
- Motorisation : EX : 1.8 l 90 cv
- Couleur : L90E Blanc Alpin
- Jantes : LE CASTELLET 14' (de série)
- Lien vers la présentation : https://www.golf1cabriolet.com/forum/vi ... =2&t=28389
- Localisation : Alpes Maritimes (06)
- Âge : 57
Re: Support de plaque avant
Je ne me souviens plus exactement mais je pense qu'il suffit de trouver des vis avec une tête assez large en rapport aux trous du supports et avec un profil qui puisse tenir dans le plastique.


-
Chreun
- Colonel forumeur

- Messages : 2014
- Enregistré le : jeu. mars 03, 2011 08:49 am
- Prénom : René
- Voiture : Golf 1 cabriolet
- Année : 1990
- Version : Cabriolet
- Motorisation : EX : 1.8 l 90 cv
- Couleur : LA7Y Gris Étain Métal
- Jantes : BBS RA (de série)
- Lien vers la présentation : https://www.golf1cabriolet.com/forum/vi ... 76#p392176
- Localisation : [59]
- Âge : 43
Re: Support de plaque avant
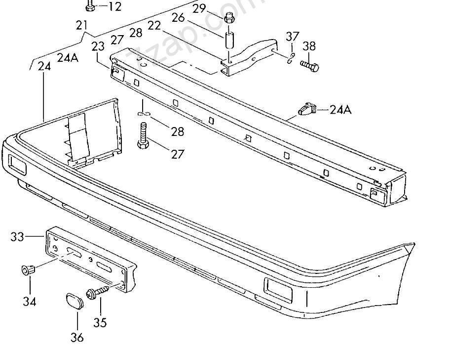
Voici la référence de la vis selon les éclatés VW: 155 853 149 (repère 35)
C'est de la vis H5x17 (cruciforme à tête large)
Disponible chez Werk34
https://www.werk34.de/de/linsenblechschraube-5x17.html
Je viens de voir que Werk34 a fait un kit de visserie et clips complets pour les fixations du kit Karmann de nos cabriolets
https://www.werk34.de/de/detail/index/sArticle/19938
Ça m'aurait été utile il y a quelques mois. J'aurai gagné un temps certain et évité les erreurs. Envoyé de mon E6633 en utilisant Tapatalk
C'est de la vis H5x17 (cruciforme à tête large)
Disponible chez Werk34
https://www.werk34.de/de/linsenblechschraube-5x17.html
Je viens de voir que Werk34 a fait un kit de visserie et clips complets pour les fixations du kit Karmann de nos cabriolets
https://www.werk34.de/de/detail/index/sArticle/19938
Ça m'aurait été utile il y a quelques mois. J'aurai gagné un temps certain et évité les erreurs. Envoyé de mon E6633 en utilisant Tapatalk
C'est pourtant facile de ne pas se tromper!
-
golf1cab
- Capitaine forumeur

- Messages : 405
- Enregistré le : jeu. sept. 23, 2004 00:46 am
- Voiture : Golf 1 cabriolet
- Année : 1988
- Version : Cabriolet
- Motorisation : EX : 1.8 l 90 cv
- Couleur : L041 Noir
- Jantes : LE CASTELLET 15' (de série)
- Lien vers la présentation : https://www.golf1cabriolet.com/forum/vi ... &start=270
- Localisation : toulouse
- Âge : 49
