la première voiture que j'ai restaurée est partie en fumée à cause d'une fuite sur une durite d'essence.
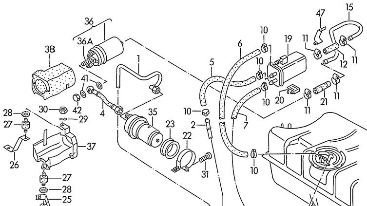
La pièce 21 avec la ref: flexible de raccord 9/11MM ref: 533 201 543 on ne trouve pas grand chose.
un raccord métalique hors de prix (34€ et 29€) + hors frais de port
une solution venant d'un Combi T2, mais on est sur un diamètre 7/11mm.
Et enfin monter en force un tuyau de 9mm (3/8") sur le diamètre 12mm de la pompe
Avez-vous une autre solution?



